La patente de avión de Koenigsegg sorprende al sector: tecnología extrema y ADN hiperdeportivo más allá de la carretera
La patente de avión de Koenigsegg abre un nuevo capítulo en la visión del fabricante sueco. Christian von Koenigsegg demuestra que su obsesión por la velocidad no se limita al asfalto. Ahora, también apunta al cielo.
El genio detrás de Koenigsegg

Hablar de la patente de avión de Koenigsegg es, en realidad, hablar de Christian von Koenigsegg, uno de los ingenieros más inquietos y visionarios de la industria. Desde que fundó la marca en los años 90, su objetivo siempre ha sido claro: llevar los límites de la velocidad más allá de lo establecido.
Sus coches no son simples superdeportivos. Son máquinas que desafían la lógica. Modelos como el Jesko, el Regera o el Gemera han redefinido conceptos como la eficiencia, la potencia y la innovación mecánica. No se trata solo de correr más, sino de hacerlo de una forma completamente diferente.
Esa mentalidad es la que ahora explica este nuevo paso. Porque si algo caracteriza a Koenigsegg es que nunca se queda en su zona de confort. Si el asfalto ya no es suficiente, el siguiente territorio natural es el aire.
La patente de avión de Koenigsegg
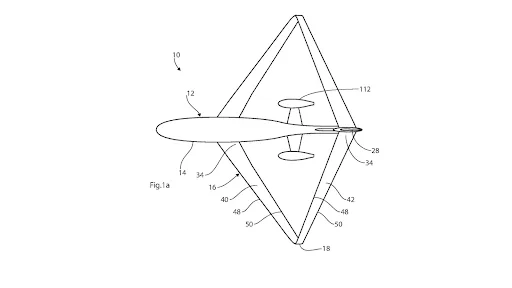
La reciente patente de avión de Koenigsegg ha generado un enorme interés dentro del sector. No se trata de un simple capricho ni de un ejercicio teórico. El diseño muestra un enfoque muy alineado con la filosofía de la marca: eficiencia aerodinámica extrema y soluciones técnicas poco convencionales.


Aunque los detalles aún son limitados, la patente sugiere un concepto de aeronave ligera con un fuerte énfasis en la optimización del flujo de aire. Aquí es donde Koenigsegg juega en casa. Sus coches ya son auténticos laboratorios de aerodinámica, con soluciones como el Triplex suspension o los sistemas activos de control del flujo.
Lo más interesante es que este avión parece buscar algo más que volar. La idea apunta a una experiencia de alto rendimiento, donde la ligereza, la eficiencia energética y la velocidad vuelven a ser protagonistas. Exactamente los mismos pilares que definen sus hiperdeportivos.
Del asfalto al cielo: la misma obsesión
Si algo deja clara esta patente de avión de Koenigsegg es que la marca no entiende de límites físicos. La velocidad es su lenguaje universal, ya sea en carretera o en el aire.
Sus coches ya han demostrado cifras que rozan lo irreal. Potencias superiores a los 1.600 CV, aceleraciones fulgurantes y tecnologías propias como la transmisión directa del Regera. Todo ello con una obsesión constante por reducir peso y mejorar la eficiencia.


Ese mismo ADN se traslada ahora al concepto aéreo. No sería extraño ver soluciones heredadas directamente del automóvil, como materiales ultraligeros o sistemas de control avanzados. En Koenigsegg, cada innovación tiene un propósito claro: ir más rápido, pero también mejor.
Eso sí, conviene puntualizarlo en su justa medida: por ahora, Koenigsegg no ha presentado ningún avión como producto, ni ha anunciado su desarrollo. Lo que existe es una patente registrada, una idea con base técnica que refleja hacia dónde podría evolucionar su ingeniería.
Koenigsegg, más allá del automóvil
La patente de avión de Koenigsegg no garantiza que veamos una aeronave firmada por la marca en el corto plazo. Pero sí deja algo muy claro: Koenigsegg ya no piensa solo en coches.
Su capacidad para trasladar tecnología entre disciplinas es precisamente lo que la ha convertido en una referencia mundial. Y aunque este proyecto se quede en una idea, refuerza su identidad como uno de los laboratorios de ingeniería más radicales del mundo.
Porque cuando Christian von Koenigsegg diseña algo, nunca es solo por curiosidad. Siempre hay una intención detrás. Y, casi siempre, termina marcando el camino.








